| ÉêÇëºÅ | CN201911398239.8 | ÉêÇëÈÕ | 2019-12-30 |
| ¹ûÕæ£¨Í¨¸æ£©ºÅ | CN111167927A | ¹ûÕæ£¨Í¨¸æ£©ÈÕ | 2020-05-19 |
| ÉêÇëÐû²¼ºÅ | CN111167927A | ÉêÇëÐû²¼ÈÕ | 2020-05-19 |
| ·ÖÀàºÅ | B21D28/26;B21D28/34;B21D28/04;B21D55/00;F16F15/04 | ·ÖÀà | »ù±¾ÉÏÎÞÇÐÏ÷µÄ½ðÊô»úе¼Ó¹¤£»£»£»£»£»£»½ðÊô³åѹ |
| ·¢Ã÷ÈË | Íõ¸¶»ª;Ä϶¡Ìì;Âí¿ªÐÂ;½ðºé¸ù | ÉêÇ루רÀûȨ£©ÈË | 2121·Ç·² |
| ´úÀí»ú¹¹ | ÄϾ©ÖÚÁª×¨Àû´úÀíÓÐÏÞ¹«Ë¾ 32206 | ´úÀíÈË | ¾°Åô·É |
| µØÖ· | 224000 ½ËÕÊ¡Ñζ¼»áÑζ¼ÇøÐÂÇøÐËÃñ¾Óί»áËÄ×é2´±(B) | ||
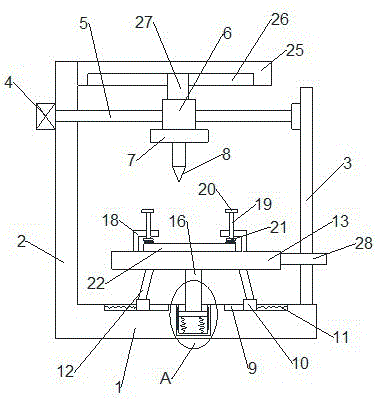
| ÕªÒª | ±¾·¢Ã÷ÌṩһÖÖµçÈÈÎå½ð¼Ó¹¤ÓõĴò¿××°Ö㬣¬£¬£¬£¬£¬£¬°üÀ¨µ××ù£¬£¬£¬£¬£¬£¬£¬ËùÊöµ××ùÒ»²àÉèÓÐÖ§Öù£¬£¬£¬£¬£¬£¬£¬ÁíÒ»²àÉèÓÐÌ×Öù£¬£¬£¬£¬£¬£¬£¬Ö§ÖùÉÏÒ»²àÉèÓÐÇý¶¯µç»ú£¬£¬£¬£¬£¬£¬£¬Çý¶¯µç»úÊä³öÖáÅþÁ¬ÓÐË¿¸Ë£¬£¬£¬£¬£¬£¬£¬Ë¿¸Ëͨ¹ýÖá³Ð×ùÓëÌ×Öùת¶¯ÅþÁ¬£¬£¬£¬£¬£¬£¬£¬Ë¿¸ËÉÏÂÝÎÆÅþÁ¬ÓÐË¿¿é£¬£¬£¬£¬£¬£¬£¬Ë¿¿éµ×²¿ÉèÓÐÆø¸×¡£¡£¡£¡£¡£¡£±¾·¢Ã÷±¾·¢Ã÷³å¿×ʱ£¬£¬£¬£¬£¬£¬£¬Í¨¹ý»º³åб¸Ë·¢¶¯»¬¿éÔÚ»¬¶¯²ÛÄÚÒÆ¶¯£¬£¬£¬£¬£¬£¬£¬Ò»»º³åµ¯»ÉѹËõ£¬£¬£¬£¬£¬£¬£¬Í¬Ê±»¬ÖùÏòÏÂÒÆ¶¯£¬£¬£¬£¬£¬£¬£¬¼·Ñ¹»¬¿é£¬£¬£¬£¬£¬£¬£¬¶þ»º³åµ¯»ÉѹËõ£¬£¬£¬£¬£¬£¬£¬½ø¶ø³å¿×ʱ¿É¿´´ý¼Ó¹¤¼þ¾ÙÐлº³å£¬£¬£¬£¬£¬£¬£¬Æðµ½±£»£»£»£»£»£»¤´ý¼Ó¹¤¼þ£¬£¬£¬£¬£¬£¬£¬Í¬Ê±³å¿×Í·Ò²ÏìÓ¦µÄÊܵ½»º³åÁ¦£¬£¬£¬£¬£¬£¬£¬½øÒ»²½µÄÊܵ½±£»£»£»£»£»£»¤£¬£¬£¬£¬£¬£¬£¬Ìá¸ßÁ˳å¿×Í·µÄÊÙÃü¡£¡£¡£¡£¡£¡£ | ||


ÁªÏµÈË£ºÖì˾Àí
µç »°£º15962095555
ÓÊ Ï䣺zhu15962095555@dingtalk.com
µØ Ö·£º½ËÕÊ¡Ñζ¼»áÑζ¼ÇøÑÎä½ֵÀÑÎä·888ºÅ
ÎïÁª´óÏÃÎ÷ÃÅ



