2121非凡

通用banner
您目今的位置 : 首 页 > 新闻中心 > 手艺资讯

联系2121非凡Contact Us

江苏2121非凡收支口股份有限公司

 联系人:朱司理

 电    话:15962095555

 邮    箱:zhu15962095555@dingtalk.com

 网    址:www.xt518.com

 地    址:江苏省盐都会盐都区盐渎街道盐渎路888号物联大厦西门

2121非凡·(中国集团)体育官方网站

2121非凡专利-CN111174409A_一种新型防爆管道电加热器

2021-01-06
申请号CN201911354087.1申请日2019-12-25
果真(通告)号CN111174409A果真(通告)日2020-05-19
申请宣布号CN111174409A申请宣布日2020-05-19
分类号F24H1/10;F24H9/00;F24H9/18;F03B13/00;G01N29/04;G01N29/14;G01N29/22分类供热 ; ;;;;;;;炉灶 ; ;;;;;;;透风
发明人王付华;南丁天;马开新;金洪根申请(专利权)人
2121非凡
代理机构
南京众联专利代理有限公司 32206代理人
刘趁新
地址224000 江苏省盐都会盐都区新区兴民居委会四组2幢(B)
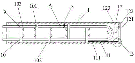
摘要本发明提供一种新型防爆管道电加热器, , ,, ,包括筒体和防爆法兰电加热器, , ,, ,筒体为一侧洞开的筒体, , ,, ,防爆法兰电加热器包括一法兰和加热管, , ,, ,事情时, , ,, ,防爆法兰电加热器先最先举行事情, , ,, ,然后将流体从进料口流入举行加热, , ,, ,并且在导流板的导流作用下, , ,, ,流体从出料口流出, , ,, ,流体从进料口流入时, , ,, ,发电机构事情, , ,, ,发电机构爆发的电流为电磁铁通电, , ,, ,电磁铁通电后, , ,, ,在导向杆的导向作用下, , ,, ,电磁铁敲击筒体内壁, , ,, ,凭证敲击的声音, , ,, ,事情职员可以判断筒体内壁是否爆发走漏或者破碎征象, , ,, ,本发明中, , ,, ,缓冲装置的设置, , ,, ,可以镌汰流体对导流板的攻击压力, , ,, ,增添导流板的使用寿命, , ,, ,并且缓冲装置中橡胶的设置, , ,, ,也可以避免流体进入凹槽内, , ,, ,禁止易倾轧。。。。。

888.png

标签

本文网址:/news/500.html

近期浏览:

联系人:朱司理

电   话:15962095555

邮   箱:zhu15962095555@dingtalk.com

地   址:江苏省盐都会盐都区盐渎街道盐渎路888号

             物联大厦西门

加热器厂家

加热器厂家

管道加热器

管道加热器


缩短
  • QQ客服 2336502083

分享到

网站地图